Várias patentes oferecem uma a abordagem da Honda aos modelos híbridos. Ao todo, 11 registros foram feitos com os dois motores elétricos colocados em diferentes disposições.
Uma das primeiras experiências com motos híbridas da marca japonesa ocorreu em 2008 com uma Honda VFR, que utilizaria um motor elétrico associado ao propulsor de combustão.
Porém, a experiência nunca passou disso mesmo, e pequenas startups como a Zero Motorcycles e a Bremmo já avançavam com os seus primeiros projetos elétricos. Mais tarde, a Kawasaki causou furor no último EICMA, anunciando, entre outras iniciativas ecológicas, uma futura moto híbrida.

Hoje ainda não é certo que a Kawasaki consiga atingir sua meta de lançamento de uma Ninja HEV em 2024, mas quando ela chegar, temos que lembrar que não é a primeira híbrida de duas rodas produzido em massa. Não, essa honra na verdade pertence ao scooter Honda PCX Hybrid, lançado em 2018 nos mercados asiáticos.
LEIA MAIS:
Detalhes dos projetos híbridos
Além do PCX Hybrid estar disponível apenas para alguns países, a Honda também não fez muito esforço para impulsionar tecnologias híbridas para motocicletas. Em anúncio realizado no ano passado, sobre como tornar o seu negócio de motos neutro em carbono até 2040, o foco estava inteiramente em veículos elétricos, com os híbridos nunca sendo mencionados.

Mas graças a alguns registros de novas patentes, agora sabemos que a Honda realmente está trabalhando nesse sentido. Na verdade, ela registrou pelo menos 11 patentes separadas relacionadas a veículos híbridos de duas rodas.
Todas essas patentes foram arquivadas originalmente em 2021 e só foram divulgadas na semana passada. Elas parecem todas fazer parte do mesmo projeto, cada uma tendo uma pequena variação das outras.

Passos da Honda
Esse tipo de interação é algo que vemos com bastante frequência em registros de patentes, ou seja, cada registro adota uma abordagem diferente, com foco em um objetivo único, como reduzir a largura geral do motor ou melhorar a refrigeração de um componente específico, por exemplo.
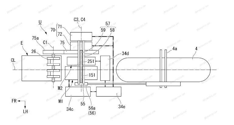
Embora os detalhes variem, todas as 11 patentes definem alguns elementos centrais: uma máquina com um motor de combustão interna de vários cilindros trabalhando em conjunto não com um, mas com dois motores elétricos separados.

Uma unidade de controle de potência (CPU) gerencia como a potência é fornecida à roda traseira, esteja o propulsor trabalhando sozinho, com um ou ambos os motores auxiliares ou com um motor acionando a roda traseira em modo elétrico puro.
Algumas possíveis características
O uso de dois motores elétricos é bem interessante. Embora acrescente complexidade, há alguns benefícios em ter dois propulsores. As patentes descrevem como um motor pode funcionar como acionamento, enquanto o outro se torna um gerador, convertendo a saída do motor em eletricidade para carregar as baterias.
Combinado com a frenagem regenerativa, essa configuração híbrida pode permitir baterias menores e mais leves sem sacrificar muito o alcance, um desafio para veículos puramente elétricos.
Algumas das patentes contém os dois motores lado a lado para reduzir a largura total, outras têm um atrás e o outro alinhado. Do mesmo modo, outro tem os motores alinhados verticalmente atrás para melhorar o arrefecimento.
As ilustrações da patente mostram um quadro semelhante ao dos modelos NC, mas considerando onde alguns dos exemplos colocam o motor, pode ser apenas um espaço reservado e não indicativo do que será o produto real.

Honda de olho no futuro híbrido
O uso do motor NC750 na maioria dos diagramas de patente faz algum sentido, pois o seu banco de cilindros inclinado para a frente permite diferentes opções para posicionar outros componentes, como baterias.
Os registros mencionam uma transmissão variável, mas não descartam uma possível aplicação com caixa manual. Sendo CVT ou não, uma das patentes descreve o uso do design de dupla embreagem da Honda, não para trocar de marcha, mas para alternar entre o ICE (motor de combustão) e os dois motores elétricos.
Será mesmo que a Honda vai apresentar uma moto híbrida de motor duplo? Com a Kawasaki visando um lançamento deste tipo em 2024, certamente a Honda não vai querer ficar para trás.
Vamos aguardar os próximos passos das marcas, enquanto isso, nós, amantes do motociclismo, nos divertimos com a disputa pelo mercado e as atualizações benéficas que as motos vêm ganhando.

